Hace ya 15 años que publiqué en mi web la sección de motores, con la intención de ayudar y aclarar toda la problemática de los motores que equipan a nuestras queridas locomotoras. Sin embargo todavía hay marklinistas a los que abrir una locomotora y mirar que hay dentro les parece un mundo, así que intentaré iluminar un poco este asunto.
Pero, hay que emplear lenguaje técnico, nuestros trenes funcionan con electricidad y hay que conocerla, no hay que ser ingeniero pero hay que tener unos mínimos conocimientos, y hoy en día con toda la información que hay en la Web eso es facilísimo. O sea que nadie tiene excusa, no vale el "yo de electricidad no se nada" y "empleas palabras muy raras que dan miedo", somos adultos, y lo que no se sabe se aprende, yo intento explicar, y si uno no entiende aparte de preguntar queda la opción de creérselo y ya está.
Después de esta charla vamos al lío ...
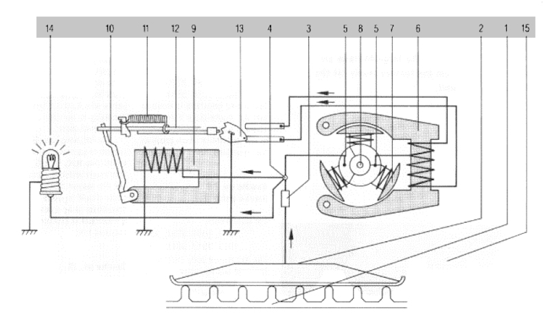
En esta figura tenemos el esquema eléctrico de la locomotora, vamos a ver que es cada cosa:

- 1 Tercer raíl o pukos.
- 2 Patín.
- 3 Antiparasitario de FM.
- 4 Punto de soldadura principal.
- 5 Escobillas.
- 6 Estátor.
- 7 Rotor.
- 8 Eje del rotor.
- Los elementos 9, 10, 11, 12, 13 forman el relé inversor:.
- 9 Electroimán del relé inversor.
- 10 Armadura del relé inversor.
- 11 Muelle del relé inversor.
- 12 Deslizador del relé inversor.
- 13 Conmutador.
- 14 Bombilla.
- Y por ultimo ese simbolito que es una linea horizontal con unas rayitas inclinadas debajo, es la masa, o conexión a las ruedas.
Una vez enumerados los componentes vamos a ver su funcionalidad:
1 Tercer raíl o pukos: Forma parte de la vía y su función es entregar la corriente eléctrica a la locomotora para que funcione.
2 Patín: recoge la corriente de los pukos y la pasa a los componentes de la locomotora.
3 Antiparasitario de FM: sirve para eliminar interferencias en aparatos de radio/TV en la banda de FM.
4 Punto de soldadura principal: Distribuye la electricidad por dentro de la locomotora a los diferentes componentes, motor, relé inversor y bombillas.
5 Escobillas: Se encargan de suministrar corriente eléctrica a las bobinas del rotor, es un elemento que se desgasta ya que hace de puente entre la parte externa del motor (estática ) y la interna, el rotor que se mueve. Son 2 escobillas y suelen ser de grafito, o una de bronce y la otra de grafito.
6 Estátor: Es la pieza que genera un campo electromagnético necesario para que el motor funcione.
7 Rotor: es la pieza del motor donde la energía eléctrica se convierte en energía mecánica, haciendo que el rotor gire, en el rotor, a su vez hay varias bobinas (también llamadas polos) suelen ser 3 o 5; el colector, que es donde se apoyan las escobillas y que a su vez esta formado por unos contactos de cobre (3 o 5 igual que los polos) estos contactos se llaman delgas.
8 Eje del rotor, es el eje alrededor del cual gira el rotor, y tiene un piñón para transmitir el movimiento a las ruedas a través de los engranajes correspondientes.
Los elementos 9, 10, 11, 12, 13 forman el relé inversor, pero por ahora no interesa su funcionamiento.
En esta figura vemos marcado en amarillo el circuito eléctrico de la iluminación, es decir de la bombilla los elementos implicados serían: pukos, patín, punto de soldadura principal, cable y bombilla de aquí a través de la masa cerraría el circuito por las ruedas y los raíles. ¡Fácil! ¿no?
Ahora vamos a ver la corriente de tracción, es decir el circuito que recorre la electricidad por el motor de nuestras locomotoras. Está marcado en rojo, el camino es: Pukos, patín, punto de soldadura principal, escobilla, colector del rotor, bobinado del rotor, colector, escobilla, estátor, conmutador del relé, masa. Ambos circuitos, iluminación y tracción comparten algunos elementos, por ejemplo el patín y la masa, ¡Fácil!
En la mayoría de locomotoras märklin, solo un tornillo sujeta la carcasa, un ejemplo de ingeniería muy cuidada, aquí tenemos una veterana 3022 con su interior al descubierto. Observamos el bloque motor o bogie motor, el descodificador, un märklin 6090, y el preiserman que se encarga de manejar la locomotora.
Aquí tenemos una märklin 3032, sin la carcasa (1 solo tornillo) esta locomotora está equipada con enganche Telex y por tanto su cableado es algo mas complicado. En esta foto hay varios elementos destacables, las escobillas que son redondas una de bronce y la otra de grafito, el estátor del cual solo se ve la parte del imán, la tapa del motor, de aspecto cuadrado y de la que se ve uno de los tornillos de sujeción, el de la parte superior derecha. Para el que no esté acostumbrado a una imagen así, le conviene fijarse lo mas posible en todos los detalles, el motor de esta locomotora es un SFCM luego veremos porqué.
Aquí está de nuevo la 3022, si comparamos con la imagen anterior veremos que las escobillas son iguales, la de bronce y la de grafito, el eje del rotor tiene el mismo aspecto, solo se le ve asomar, sin embargo la tapa del motor es distinta, en esta el aspecto es mas redondeado y los tornillos de sujeción están mas separados como en unas pestañas. Si tuviésemos las dos locomotoras a la vista veríamos que en esta, la tapa del motor es algo mas grande. En estas dos locomotoras las escobillas van paralelas al eje del rotor (se meten dentro de la foto), por tanto, el colector donde se apoyan es plano, son motores son motores de colector plano FCM (sus siglas en inglés) el de la foto superior es el pequeño, SFCM y el de esta locomotora es el grande LFCM.
Otra locomotora, en este caso la 3096, observad la tapa del motor, y comparar con la foto anterior, las dos tapas del motor son distintas pero parecidas, es como si la de abajo estuviese girada 180º, bien, en los motores LFCM puede haber dos tapas de motor, en estas 2 fotos podéis verlas. También se ven, el estátor, los muelles de los porta escobillas, las escobillas, (bronce y grafito), los tornillos de la tapa del motor, la toma de masa en uno de los tornillos, el engrasador (esa pequeña esponja) , el descodificador, un LokPilot en este caso. Motor LFCM.
Otra locomotora, la 3000, una clásica, ¿que diferencias podéis notar?, la principal, el estátor tiene una bobina y unos cables, es el típico estátor de märklin, en este caso la locomotora está digitalizada con un descodificador antiguo un 6080 que permite mantener el estátor original, pero no tiene regulación de carga ni ajuste de velocidad máxima, observad la tapa del motor, y las escobillas, este motor es un SFCM.
En este despiece podemos observar todas las piezas del motor, el número 18 corresponde al estátor, el 19 es el rotor, el 20 es la tapa del motor donde van las escobillas (22), que en este caso son cilíndricas y paralelas al eje del rotor, luego este motor es uno de colector plano, un SFCM para ser exactos. La referencia marcada con numero 23 corresponde a un antiparasitario.
Otra locomotora, en este caso una 3358, originalmente esta locomotora venia con inversor electrónico, se puede ver en la foto, también se ve en bogie motor, ¿que se puede ver en él? ¿es igual a los que ya hemos visto? ¿y las escobillas?....
En este otro despiece, muy parecido al anterior, se ve claramente que las escobillas (20) van colocadas perpendiculares al eje del rotor y ambas son de grafito, el motor es un DCM, de 3 polos. Todas las piezas son similares a las correspondientes del motor anterior, pero no son iguales, como se puede observar.
En esta foto tenemos una buena pista, el alojamiento de las escobillas es distinto a los que hemos visto hasta ahora, mientras que los otros era paralelos al eje del rotor, en este caso son perpendiculares al dicho eje, así pues este motor es un DCM. También vemos el estátor que es el original de märklin, con bobina.
La misma foto pero tenemos marcado el eje del rotor, la tapa del motor, que vemos tiene forma cuadrada con los vértices o esquinas redondeados, se ve unos de los tornillos de la tapa del motor, y el otro esta en el vértice opuesto, tapado por los cables.
¡Truco! escobillas perpendiculares al eje del rotor ---> motor DCM.
En esta foto vemos que las escobillas están puestas y los muelles están en la posición normal, se ven también los dos tornillos de la tapa del motor, y el estátor, con su conexión a una de las escobillas.
Hemos movido los muelles a la posición de extracción de escobillas, y hemos quitado estas, es necesario quitarlas para desmontar el motor.
Aquí tenemos el motor desmontado, y se pueden ver mejor los componentes, hasta ahora hemos visto el eje del rotor, bien, pues aquí se ve al rotor completo, ahora bien ¿podemos aventurarnos a saber que tipo de rotor es? ¿Alguna ocurrencia? ¡¡Sí, exacto!! es un rotor de 5 polos, ¿alguien sabe por qué? El estátor es el original de marklin, con bobina.
Esta foto y la anterior son prácticamente iguales, solo cambia el estátor que en este caso es uno de imán permanente de ESU o Hamo.

Ya tenemos el motor casi montado, las escobillas aún no están puestas, veis que en este caso las dos son de grafito y se observa que su base es casi cuadrada, es una buena pista para saber que este motor es del tipo DCM, si a ello le añadimos que las escobillas irán perpendiculares al eje del motor, ya lo tenemos claro, es un DCM.
Vamos a repasar lo aprendido:

Aquí tenemos los componentes de un motor DCM, el rotor es el que le corresponde y en este caso es de .... ¡3 polos! ¿adivináis porqué?, en el rotor una flecha señala una parte que se llama colector o conmutador, y que ademas está sucia, esta pieza está formada por otras tres mas pequeñas que se llaman delgas y es donde se apoyan las escobillas. Esta pieza el colector, en este caso tiene una forma cilíndrica (Drum) así este motor se llama Drum Conmutator Motor. O Motor de Colector Cilíndrico.
En los otros motores esta pieza el colector, es circular pero plano.
Solo nos queda explicar y entender como funciona un motor eléctrico, esto es fácil, pero tiene su aquél, ya que un motor eléctrico funciona obedeciendo las leyes del electromagnetismo, lo que pasa es que estas leyes no son muy intuitivas, la ley que explica el funcionamiento es la ley de Lorentz, que viene a decir algo así como:
"Si por una espira o por un arrollamiento de espiras (bobina) circula una corriente eléctrica y la bobina esta bajo la influencia de un campo electromagnético, aparece una fuerza sobre las espiras que hace girar a estas, según unas reglas."
Y la ley de Gauss, que viene a decir:
"... que cuando una corriente eléctrica circula crea un campo electromagnético a su alrededor"
Y si tenemos una bobina ese campo es la suma de los producidos por cada una de las vueltas de la bobina. Esto puede parecer magia, pero no lo es, es así, funciona, hay montones de motores eléctricos que funcionan bajo este principio. Pare saber mas sobre las leyes del electromagnetismo está este enlace.
Ahora solo queda aplicar esta ley a nuestros trenes:
Cuando aplicamos la corriente a nuestros trenes, esta corriente eléctrica empieza a circular por el estátor y rotor, en el estátor se crea un campo
electromagnético, este campo es conducido por la propia forma del estátor alrededor del rotor, la misma corriente pasa también por el rotor, y ya tenemos una
corriente circulando bajo la influencia de un campo electromagnético, aparecen una fuerzas sobre el rotor que hacen girar a este, y ya está el motor girando,
y por tanto convirtiendo energía eléctrica en energía mecánica.
Cuando tenemos un estátor de imán permanente imán quien crea el campo magnético, y el resto es igual.
Y esto es todo amigos, espero haber aclarado algo.



















